首页   >   新闻资讯 >   行业信息

弹簧的制作方法

2025-7-20 13:16:55

分享
  • 分享到微信
本实用新型涉及一种弹性件,具体涉及一种弹簧。
 
背景技术:
弹簧是利用自身的变形产生力或储存能量的机械零件,其主要功能有控制机械运动、吸收振动和冲击能量、储存及输出能量作为动力以及作为测力元件等。弹簧应用广泛,也存在不足,比如弹簧受拉力过大,超出其本身的弹性范围,就会造成弹簧永久性变形,无法恢复;弹簧受力快速压缩时,尤其是比较长的弹簧,易歪曲,部分或全部弹簧偏离原弹簧轴心,不能充分发挥其弹性作用。均影响弹簧的正常使用,同时也缩短了弹簧的寿命。
 
技术实现要素:
针对背景技术中的不足,本实用新型提供了一种弹簧,并且克服了以上缺陷。
本实用新型所采用的技术方案是:一种弹簧,包括弹簧本体及限位结构,所述弹簧本体由至少两个螺圈层组成,所述螺圈层上设有与各螺圈层垂直的通孔,所述各螺圈层上的各通孔的孔心在同一直线上,所述限位结构包括绳索及挡体,所述绳索穿过通孔,且相对通孔绳索可上下滑动,相邻螺圈层之间的绳索上固定有挡体,相邻挡体之间的长度不大于相邻螺圈层所能达到的弹性最大有效长度,所述通孔的孔径小于挡体最大有效直径,所述螺圈层上方还均固定有一个限位槽,所述限位槽底部为弧面结构设置,且弧面弧度与弹簧丝的横剖切面圆相对应,且限位槽呈开口向上V型结构,所述限位槽内表面光滑却涂覆有润滑层,所述每一个螺圈层上设一个限位槽,上下相邻限位槽交错设置。
所述挡体呈锥形结构设置,且挡体的外表面上涂设有荧光材质。
所述绳索的承受力大于弹簧本体最大有效长度下所能承受的重力。
本实用新型的有益效果是:由于采取上述技术方案,有效改善了现有弹簧受力过分拉伸而导致弹簧永久变形及快速压缩弹簧时其偏离轴心的问题,该弹簧结构设置简单合理,有效防止弹簧因受力拉伸超出本身最大有效长度导致无法复位的发生,且能够在弹簧本体被快速压缩时,螺圈层落入相邻限位槽内,保持同一轴心不变,保证弹簧的正常使用,延长弹簧寿命,生产效率高,实用效果好,易于推广 。
 
附图说明
图1为本实用新型的结构示意图。
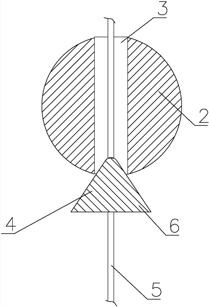
图2为图1中螺旋层2及挡体3局部作业状态剖切图。
图3为本实用新型被压缩状态时的局部剖切示意图。
图中1、弹簧本体;2、螺圈层;3、通孔;4、限位结构;5、绳索;6、挡体;7、限位槽。
 
hg皇冠app
 
具体实施方式
下面结合附图对本实用新型实施例作进一步说明。
如图1结合图2、图3所示,一种弹簧,包括弹簧本体1及限位结构4,所述弹簧本体1由至少三个螺圈层2组成,所述螺圈层2上设有与各螺圈层2垂直的通孔3,所述各螺圈层2上的各通孔3的孔心在同一直线上,所述限位结构4包括绳索5及挡体6,所述绳索5优选地选用钢丝绳,有一定的柔软度且承受力强,所述绳索5穿过通孔3,且相对通孔3绳索5可上下滑动,且相邻螺圈层2之间的绳索5上固定有挡体6,相邻挡体6之间的长度不大于相邻螺圈层2所能达到的弹性最大有效长度,挡体6等距离分布,所述通孔3的孔径小于挡体6最大有效直径。
所述挡体6呈锥形结构设置,当绳索5受力作用时,锥形结构设置便于挡体6的卡于对应通孔3内,起到导向作用,使用效果好。
所述挡体6的外表面上涂设有荧光材质,比较醒目,便于找寻。
所述绳索5的承受力大于弹簧本体1最大有效长度下所能承受的重力,保护弹簧本体1不变形。
所述限位结构4至少设有两个,且等距离圆周分布。
所述各螺圈层2上方还均固定有一限位槽7,所述限位槽7底部为弧面结构设置,且弧面弧度与弹簧丝的切面圆相对应配合,且限位槽7呈开口向上V型结构所有限位槽7开口方向一致,起到导向作用,所述弹簧丝绕城螺圈层2,所述限位槽7内表面光滑却涂覆有润滑层,避免应弹簧本体1因与限位槽7之间产生摩擦而影响其正常工作,所述润滑层优选的使用润滑油。所述一个螺圈层2上设一个限位槽7,上下相邻限位槽7交错设置,避免相邻限位7之间相互影响,且整体所有限位槽7纵向呈圆周均匀分布,即所有相邻限位槽7纵向间距相等,保证弹簧本体1受力均匀,弹簧被压缩时保持同轴不变,所述各螺圈层2之间相互连接,且为一体式结构设置。
弹簧本体1受力拉伸,当受力超过弹簧本体1所能承受的范围时,限位结构4起到对弹簧本体1的保护作用,具体的由于相邻挡体6之间的长度不大于相邻螺圈层2所能达到的弹性最大有效长度,所以在弹簧本体1长度还没有达到极限的时候,绳索5受力,绳索5上的挡体6挡住螺圈层2的拉伸,整个力由绳索5承受,防止弹簧本体1超出有效范围,也就不会造成弹簧本体1受力过大造成永久变形的情况,延长弹簧使用寿命。
弹簧本体1受力压缩时,螺圈层2彼此缩近,此时螺圈层2受限位槽7的导向作用就会进入相邻限位槽7内,保证弹簧本体1即便是被快速压缩或者是弹簧本体1比较长时都可以确保任何一个螺圈层2都不会脱离原弹簧轴心,同轴度高。
 
本实用新型有效改善了现有弹簧受力过分拉伸而导致弹簧永久变形及快速压缩弹簧时其偏离轴心的问题,该弹簧结构设置简单合理,有效防止弹簧因受力拉伸超出本身最大有效长度导致无法复位的发生,且能够在弹簧本体被快速压缩时,螺圈层落入相邻限位槽7内,保持同一轴心不变,保证弹簧的正常使用,延长弹簧寿命,生产效率高,实用效果好,易于推广 。

推荐产品

Copyright © 2009-2025 版权所有 hg皇冠app   浙ICP备15019047号 {Yd:statisticalcode}
放回
上页